Øvelse 50 - Netværksdiagrammer¶
Information¶
Netværksdiagrammer kan tegnes som fysiske og logiske diagrammer. Fysiske netværksdiagrammer beskriver hvordan netværksenheder er forbundet fysisk, altså hvordan netværkskablerne er placeret mellem netværkets enheder. Logiske diagrammer beskriver hvordan netværkstrafik
Overblik er en essentiel del i forhold til at implementere sikkerhed, hvis ikke vi har overblik er det svært at vurdere hvor sikkerhed skal implementeres i et netværk. Netværksdiagrammer er også en essentiel komponent når netværk skal designes, konstrueres og implementeres.
Formålet med denne øvelse er at få et værktøj til at lave overskuelige netværksdiagrammer samt at få øvet hvordan de tegnes. Formålet er også at få repeteret fundamentale begreber som IP adresser, VLAN's og forskellen på fysiske og logiske diagrammer
Instruktioner¶
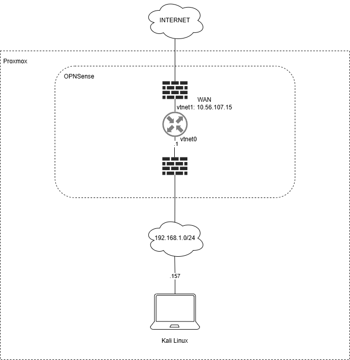
- Ovenstående diagrammer skal laves pænt - ie. find et passende diagram værktøj, og lav jeres egen version af det. (Jeg bruger draw.io med cisco symbolerne. Draw.io kan installeres lokalt, men også som udvidelse i visual studio code)
- Tilføj noget associeret tekst der beskriver hvad man ser.
- Diagrammerne skal dokumenteres på jeres gitlab pages. Noter evt. spørgsmål eller tvivl som en del af dokumentationen så jeg kan bruge det i den feedback jeg giver jer i næste undervisningsgang.
Ikoner, som er anvendt.¶

Løsning¶
Denne kan findes gruppens Gitlab side: Cryptic
- Vores Proxmox server, som er opsat med OPNSense og Kali Linux sammen med et subnet for LAN-siden og et for WAN-siden.
